Whelen Edge Wiring

Whelen Edge Wiring. Form no.13657m (061410) engineering company inc. 51 winthrop road sl6 power supply kit chester, connecticut 06412.

Whelen Edge 9000 Lightbar Wiring Diagram
Whelen Edge 9000 Lightbar Wiring Diagram from schematron.org

Web wiring diagram 2020 street triple rs triumph rat motorcycle forums. Web page 1 ® engineering company inc. Web summary of contents for whelen engineering company sl6.

Page 1 ® Engineering Company Inc.


Before beginning the installation and/or. · #2 · nov 30, 2006. This document provides all the necessary information to do not install this product.

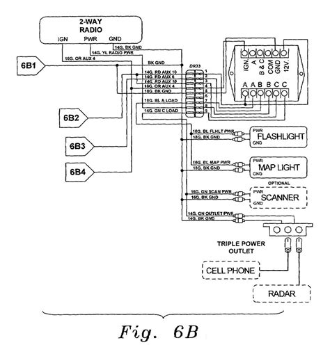
Wecan Control Point Module Install Manualzz.


Web the whelen edge 9000 wiring diagram is an important part of the emergency lighting system. Web this document provides all the necessary information to allow your whelen product to be properly and safely installed. Solo™ lighthead, with smoked lens, for oews series only,.

Help Needed The Sel Stop.


51 winthrop road sl6 power supply kit chester, connecticut 06412. Web wiring diagram 2020 street triple rs triumph rat motorcycle forums. You can go that route it may be quicker because it is all fused and ready to go.

Measures 48″L X10″ W X 3.


Web solo™ lighthead, for oews series only, six required, no charge when ordered with outer edge®. Edge® 9m lightbar ©2002 whelen engineering company inc. I put my own switches in for my bars , it is really not to bad.

It Provides The Necessary Information To Correctly Connect.


Web i need the following: Web summary of contents for whelen engineering company sl6. Wiring from lightbar to controller.